实盘配资门户 中国平安涨近5%
中国平安涨近5%,成交额44.33亿港元实盘配资门户,内险股集体走高。
举报 相关阅读
曹操出行赴港上市预计募资超18亿港元曹操出行赴港上市预计募资超18亿港元
67 06-17 09:55
蚂蚁入局港元稳定币,科技巨头、金融机构抢滩加密市场稳定币产业链核心结构是:发行层 → 托管/储备管理层 → 技术支持层 → 钱包/支付接口 → 合规与审计 → 用户入口(C端/B端)。
426 06-15 20:45
HIBOR利率暴跌,港股、港元未来怎么走?随着港元再次逼近弱方7.85,不排除金管局可能会收紧港元流动性,推高利率。
268 06-05 20:46
凯美特气今日涨9.97% 一机构专用席位净买入4960.68万元凯美特气今日涨9.97% 一机构专用席位净买入4960.68万元
0 05-26 16:52
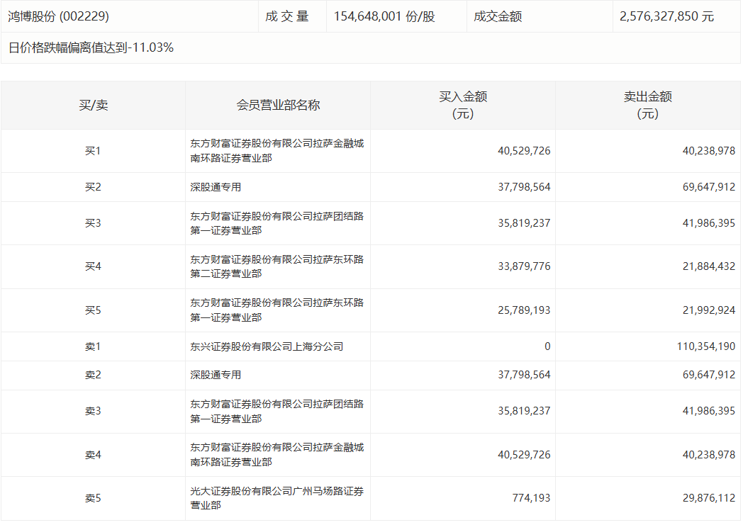
鸿博股份今日跌停实盘配资门户,北向资金净卖出3184.93万元鸿博股份今日跌停,北向资金净卖出3184.93万元
0 05-08 16:40 一财最热 点击关闭升宏网提示:文章来自网络,不代表本站观点。




